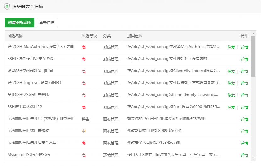
扫描服务器系统的漏洞,异常用户,已安装软件的安全问题并提供修复方案
专业的运维软件
专业的运维建议
专业运维服务跟踪
一站式等保解决方案
宝塔使用手册
Linux面板命令
API接口文档
宝塔开源协议
公司简介
开发者中心
漏洞提交
GitHub
正版查询
客服咨询: 查看二维码
商务合作QQ/WX:394030111(简述合作方向内容)
电话(非客服):0769-23030556
周一至周六 9:15~12:30 14:00~18:15(节假日除外)
宝塔交流群(微信扫码):点击查看
联系客服
高新技术企业编号GR201944000059 | 粤B2-20201398 | 粤ICP备17030143号 | 粤公网安备44190002003211号
Copyright © 2025 宝塔面板 | 让运维安全高效(www.bt.cn)广东堡塔安全技术有限公司 © 版权所有宝塔官网正在使用宝塔Linux面板维护管理并由 尊云云服务器 提供支持